1. 분말소와약제 중 탄산수소칼륨(KHCO3)과 요소(CO(NH2)2)와의 반응물을 주성분으로 하는 소화약제는?
① 제1종 분말 ② 제2종 분말
③ 제3종 분말 ④ 제4종 분말
2. 할론(Halon) 1301의 분자식은?
① CH3Cl ② CH3Br
③ CF3Cl ④ CF3Br
3. 유류 저장탱크의 화재에서 일어날 수 있는 현상이 아닌 것은?
① 플래시 오버(Flash Over) ② 보일 오버(Boil Over)
③ 슬롭 오버(Slop Over) ④ 후로스 오버(Froth Over)
4. 건축물 화재 시 피난자들의 집중으로 패닉(panic) 현상이 일어날 수 있는 피난방향은?

5. 섭씨 30도는 랭킨(Rankine)온도로 나타내면 몇 도인가?
① 546도 ② 515도
③ 498도 ④ 463도
6. A급, B급, C급 화재에 사용이 가능한 제3종 분말 소화약제의 분자식은?
① NaHCO3 ② KHCO3
③ NH4H2PO4 ④ Na2CO3
7. 1기압, 100℃에서의 물 1g 의 기화잠열은 약 몇 cal 인가?
① 425 ② 539
③ 647 ④ 734
8. 건축방화계획에서 건축구조 및 재료를 불연화하여 화재를 미연에 방지하고자 하는 공간적 대응방법은?
① 회피성대응 ② 도피성 대응
③ 대항성 대응 ④ 설비적 대응
9. 물질의 연소범위와 화재 위험도에 대한 설명으로 틀린 것은?
① 연소범위의 폭이 클수록 화재 위험이 높다.
② 연소범위의 하한계가 낮을수록 화재 위험이 높다.
③ 연소범위의 상한계가 높을수록 화재 위험이 높다.
④ 연소범위의 하한계가 높을수록 화재 위험이 높다
10. 다음 중 착화온도가 가장 낮은 것은?
① 에틸알코올 ② 톨루엔
③ 등유 ④ 가솔린
11. 위험물의 저장 방법으로 틀린 것은?
① 금속나트륨 – 석유류에 저장
② 이황화탄소 – 수조 물탱크에 저장
③ 알킬알루미늄 – 벤젠액에 희석하여 저장
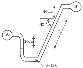
④ 산화프로필렌 – 구리 용기에 넣고 불연성 가스를 봉입하여 저장
12. 소화약제의 방출수단에 대한 설명으로 가장 옳은 것은?
① 액체 화학반응을 이용하여 발생되는 열로 방출한다.
② 기체의 압력으로 폭발, 기화작용 등을 이용하여 방출한다.
③ 외기의 온도, 습도, 기압 등을 이용하여 방출한다.
④ 가스압력, 동력, 사람의 손 등에 의하여 방출한다.
13. 가연물의 제거와 가장 관련이 없는 소화방법은?
① 촛불을 입김으로 불어서 끈다.
② 산불 화재 시 나무를 잘라 없앤다.
③ 팽창 진주암을 사용하여 진화한다.
④ 가스화재 시 중간밸브를 잠근다.
14. 연기의 감과계수(m-1)에 대한 설명으로 옳은 것은?
① 0.5는 거의 앞에 보이지 않을 정도이다.
② 10은 화재 최성기 때의 농도이다.
③ 0.5는 가시거리가 20~30m 정도이다.
④ 10은 여기감지기가 작동하기 직전의 농도이다.
15. 다음 중 가연성 가스가 아닌 것은?
① 일산화탄소 ② 프로판
③ 아르곤 ④ 수소
16. 할론 가스 45kg 과 함께 기동가스로 질소 2kg을 충전하였다. 이 때 질소가스의 몰분율은?(단, 할론가스의 분자량은 149이다.)
① 0.19 ② 0.24
③ 0.31 ④ 0.39
17. 고층 건축물 내 연기거동 중 굴뚝효과에 영향을 미치는 요소가 아닌 것은?
① 건물 내 · 외의 온도차 ② 화재실의 온도
③ 건물의 높이 ④ 층의 면적
18. B급 화재 시 사용할 수 없는 소화방법은?
① CO2 소화약제로 소화한다. ② 봉상 주수로 소화한다.
③ 3종 분말약제로 소화한다. ④ 단백포로 소화한다.
19. 인화성 액체의 연소점, 인화점, 발화점을 온도가 높은 것부터 옭게 나열한 것은?
① 발화점> 연소점> 인화점 ② 연소점> 인화점> 발화점
③ 인화점> 발화점> 연소점 ④ 인화점> 연소점> 발화점
20. 소화효과를 고려하였을 경우 화재 시 사용할 수 있는 물질이 아닌 것은?
① 이산화탄소 ② 아세틸렌
③ Halon 1211 ④ Halon 1301
|
2과목 : 소방유체역학 |
21. 다음 중 펌프를 직렬 운전해야 할 상황으로 가장 적절한 것은?
① 유량의 변화가 크고 1대로는 유량이 부족할 때
② 소요되는 양정이 일정하지 않고 크게 변동될 때
③ 펌프에 폐입 현상이 발생할 때
④ 펌프에 무구속속도(run away speed)가 나타날 때
22. 펌프 운전 중 발생하는 수격작용의 발생을 예방하기 위한 방법에 해당되지 않는 것은?
① 밸브를 가능한 펌프 송출구에서 멀리 설치한다.
② 서지탱크를 관로에 설치한다.
③ 밸브의 조작을 천천히 한다.
④ 관 내의 유속을 낮게 한다.
23. 그림과 같이 반지름이 0.8m이고 폭이2m인 곡면 AB가 수문으로 이용된다. 물에 의한 힘의 수평성분의 크기는 약 몇 kN인가? (단, 수문의 폭은 2m 이다.)

① 72.1 ② 84.7
③ 90.2 ④ 95.4
24. 베르누이 방정식을 적용할 수 있는 기본 전제조건으로 옳은 것은?
① 비압축성 흐름, 점성 흐름, 정상 유동
② 압축성 흐름, 비점성 흐름, 정상 유동
③ 비압축성 흐름, 비점성 흐름, 비정상 유동
④ 비압축성 흐름, 비점성 흐름, 정상 유동
25. 그림과 같이 매끄러운 유리관에 물이 채워져 있을 때 모세관 상승높이 h는 약 몇 m인가?

① 0.007 ② 0.015
③ 0.07 ④ 0.15
26. 공기 10kg과 수증기 1kg이 혼합되어 10m3의 용기 안에 들어있다. 이 혼합 기체의 온도가 60℃라면, 이 혼합 기체의 압력은 약 몇 kPa 인가? (단, 수증기 및 공기의 기체상수는 각각 0.462 및 0.287kJ/(kg·K)이고 수증기는 모두 기체 상태이다.)
① 95.6 ② 111
③ 126 ④ 145
27. 파이프 내에 정상 비압축성 유동에 있어서 관마찰계수는 어떤 변수들의 함수인가?
① 절대조도와 관지름 ② 절대조도와 상대조도
③ 레이놀즈수와 상대조도 ④ 마하수와 코우시수
28. 점성계수의 단위로 사용되는 푸아즈(Poise)의 환산 단위로 옳은 것은?
① cm2/s ② N·s2/m2
③ dyne/cm·s ④ dyne·s/cm2
29. 3m/s의 속도로 물이 흐르고 있는 관로 내에 피토관을 삽입하고, 비중 1.8의 액체를 넣은 시차액주계에서 나타나게 되는 액주차는 약 몇 m 인가?
① 0.191 ② 0.573
③ 1.41 ④ 2.15
30. 지름이 5cm인 원형 관 내에 어떤 이상기체가 흐르고 있다. 다음 보기 중 이 기체의 흐름이 층류이면서 가장 빠른 속도는? (단, 이 기체의 절대압력은 200kPa, 온도는 27℃, 기체상수는 2080J/(kg·K), 점성계수는 2×10-5Nㆍs/m2, 층류에서 하임계 레이놀즈 값은 2200으로 한다.)

① ㉠ ② ㉡
③ ㉢ ④ ㉣
31. 아래 그림과 같은 탱크에 물이 들어있다. 물이 탱크의 밑면에 가하는 힘은 약 몇 N 인가?(단 물의 밀도는 1000kg/m3, 중력가속도는 10m/s2로 가정하며 대기압은 무시한다. 또한 탱크의 폭은 전체가 1m로 동일하다.)

① 40000 ② 20000
③ 80000 ④ 60000
32. 압력 200kPa, 온도 60℃의 공기 2kg이 이상적인 폴리트로픽 과정으로 압축되어 압력 2MPa, 온도 250℃로 변화하였을 때 이 과정 동안 소요된 일의 양은 약 몇 kJ인가?(단, 기체상수는 0.287kJ/(kg·K)이다.)
① 224 ② 327
③ 447 ④ 560
33. 표면적이 A, 절대온도가 T1인 흑체와 절대 온도가 T2인 흑체 주위 밀폐 공간 사이의 열전달량은?
① T1 - T2에 비례한다. ② T21 - T22에 비례한다.
③ T31 - T32에 비례한다. ④ T41 - T42에 비례한다.
34. 그림과 같이 수평면에 대하여 60°기울어진 경사관에 비중(S)이 13.6인 수은이 채워져 있으며, A와 B에는 물이 채워져 있다. A의 압력이 250kPa, B의 압력이 200kPa일 때, 길이 L은 약 몇 cm인가?

① 33.3 ② 38.2
③ 41.6 ④ 45.1
35. 압력 0.1 MPa, 온도 250℃ 상태인 물의 엔탈피가 2974.33 kJ/kg이고 비체적은 2.40604 m3/kg이다. 이 상태에서 물의 내부 에너지(kJ/kg)는?
① 2733.7 ② 2974.1
③ 3214.9 ④ 3582.7
36. 길이가 400m 이고 유동단면이 20cm x 30cm인 직사각형 관에 물이 가득 차서 평균속도 3m/s로 흐르고 있다. 이 때 손실수두는 약 몇 m인가? (단, 관마찰계수는 0.01 이다.)
① 2.38 ② 4.76
③ 7.65 ④ 9.52
37. 안지름 100mm인 파이프를 통해 2m/s의 속도로 흐르는 물의 질량유량은 약 몇 kg/min인가?
① 15.7 ② 157
③ 94.2 ④ 942
38. 유량이 0.6m3/min일 때 손실수도가 5m인 관로를 통하여 10m 높이 위에 있는 저수조로 물을 이송하고자 한다. 펌프의 효율이 85%라고 할 때 펌프에 공급해야 하는 전력은 약 몇 kW인가?
① 0.58 ② 1.15
③ 1.47 ④ 1.73
39. 대기의 압력이 1.08kgf/cm2였다면 게이지 압력이 12.5kgf/cm2인 용기에서 절대압력(kgf/cm2)은?
① 12.50 ② 13.58
③ 11.42 ④ 14.50
40. 시간 △t 사이에 유체의 선운동량이 △P 만큼 변했을 때 △P/△t는 무엇을 뜻하는가?
① 유체 운동량의 변화량 ② 유체 충격량의 변화량
③ 유체의 가속도 ④ 유체에 작용하는 힘
|
3과목 : 소방관계법규 |
41. 소방특별조사의 연기를 신청하려는 자는 소방특별조사 시작 며칠 전까지 국민안전처 장관, 소방본부장 또는 소방서장에게 소방 특별조사 연기신청서에 증명서류를 첨부하여 제출해야 하는가?(단, 천재지변 및 그 밖에 대통령령으로 정하는 사유로 소방특별조사를 받기 곤란한 경우이다.)(관련 규정 개전전 문제로 국민안전처 장관이 아닌 행정안전부장관입니다. 참고하시어 문제 푸시기 바랍니다.)
① 3 ② 5
③ 7 ④ 10
42. 화재예방, 소방시설 설치∙유지 및 안전관리에 관한 법률상 특정소방대상물 중 오피스텔이 해당하는 것은?
① 숙박시설 ② 업무시설
③ 공동주택 ④ 근린생활시설
43. 옥내 저장소의 위치∙구조 및 설비의 기준 중 지정수량의 몇 배 이상의 저장창고(제6류 위험물의 저장창고 제외(에 피뢰침을 설치해야 하는가? (단, 저장창고 주위의 상황이 안전상 지장이 없는 경우는 제외한다.)
① 10배 ② 20배
③ 30배 ④ 40배
44. 지정수량 미만인 위험물의 저장 또는 취급에 관한 기술상의 기준은 무엇으로 정하는가?
① 대통령령 ② 총리령
③ 국민안전처장관령 ④ 시∙도의 조례
45. 특정소방대상물의 증축 되는 경우 기존 부분에 대해서 증축 당시의 소방시설의 설치에 관한 대통령령 또는 화재안전기준을 적용하지 않는 경우가 아닌 것은?
① 증축으로 인하여 천장∙바닥∙벽 등에 고정되어 있는 가연성 물질의 양이 줄어드는 경우
② 자동차 생산공장 등 화재 위험이 낮은 특정소방대상물 내부에 연면적 33m2이하의 직원 휴게실을 증축하는 경우
③ 기존 부분과 증축 부분이 갑종 방화문(국토교통부장관이 정하는 기준에 적합한 자동방화셔터를 포함)으로 구획되어 있는 경우
④ 자동차 생산공장 등 화재 위험이 낮은 특정소방대상물에 캐노피(3면 이상에 벽이 없는 구조의 캐노피)를 설치하는 경우
46. 소방용수시설 급수탑 개폐밸브의 설치기준으로 옳은 것은?
① 지상에서 1.0m 이상 1.5m 이하
② 지상에서 1.5m 이상 1.7m 이하
③ 지상에서 1.2m 이상 1.8m 이하
④ 지상에서 1.5m 이상 2.0m 이하
47. 국민안전처장관, 소방본부장 또는 소방서장이 소방특별조사 조치명령서를 해당 소방대상물의 관계인에게 발급하는 경우가 아닌 것은?
① 소방대상물의 신축 ② 소방대상물의 개수
③ 소방대상물의 이전 ④ 소방대상물의 제거
48. 성능위주설계를 실시하여야 하는 특정소방대상물의 범위 기준으로 틀린 것은?
① 연면적 200000m2 이상인 특정소방대상물(아파트등은 제외)
② 지하층을 포함한 층수가 30층 이상인 특정소방대상물(아파트등은 제외)
③ 건축물의 높이가 100m 이상인 특정소방대상물(아파트등은 제외)
④ 하나의 건축물에 영화상영관이 5개 이상인 특정소방대상물
49. 시장지역에서 화재로 오인할 만한 우려가 있는 불을 피우거나 연막소독을 하려는 자가 소방본부장 또는 소방서장에게 신고를 하지 아니하여 소방자동차를 출동하게 한 자에 대한 과태로 부과금액 기준으로 옳은 것은?
① 20만원 이하 ② 50만원 이하
③ 100만원 이하 ④ 200만원 이하
50. 대통령령 또는 화재안전기준이 변경되어 그 기준이 강화되는 경우에 기존 특정소방 대상물의 소방시설에 대하여 변경으로 강화된 기준을 적용하여야 하는 소방시설은?
① 비상경보설비 ② 비상콘센트설비
③ 비상방송설비 ④ 옥내소화전설비
51. 다음 조건을 참고하여 숙박시설이 있는 특정소방대상물의 수용인원 산정 수로 옳은 것은?

① 33 ② 40
③ 43 ④ 46
52. 출동한 소방대의 화재진압 및 인명구조∙구급 등 소방활동 방해에 따른 벌칙이 5년이하의 징역 또는 3000만원 이하의 벌금에 처하는 행위가 아닌 것은?
① 위력을 사용하여 출동한 소방대의 구급활동을 방해하는 행위
② 화재진압을 마치고 소방서로 복귀중인 소방자동차의 통행을 고의로 방해하는 행위
③ 출동한 소방대원에게 협박을 행사하여 구급활동을 방해하는 행위
④ 출동한 소방대의 소방장비를 파손하거나 그 효용을 해아여 구급활동을 방해하는 행위
53. 대통령령으로 정하는 특정소방대상물 소방시설 공사의 완공검사를 위하여 소방본부장이나 소방서장의 현장확인 대상 범위가 아닌 것은?
① 문화 및 집회시설
② 수계 소화설비가 설치되는 것
③ 연면적 10000m2 이상이거나 11층 이상인 특정소방대상물(아파트는 제외)
④ 가연성가스를 제조∙저장 또는 취급하는 시설 중 지상에 노출된 가연성가스탱크의 저장용량 합계가 1000톤 이상인 시설
54. 관계인이 예방규정을 정하여야 하는 제조소등의 기준이 아닌 것은?
① 지정수량의 10배 이상의 위험물을 취급하는 제조소
② 지정수량의 50배 이상의 위험물을 저장하는 옥외저장소
③ 지정수량의 150배 이상의 위험물을 저장하는 옥내저장소
④ 지정수량의 200배 이상의 위험물을 저장하는 옥외탱크저장소
55. 소방본부장 또는 소방서장은 건축허가등의 동의요구서류를 접수한 날부터 최대 며칠 이내에 건축허가등의 동의여부를 회신하여야 하는가? (단, 허가 신청한 건축물은 지상으로부터 높이가 200m인 아파트이다.)
① 5일 ② 7일
③ 10일 ④ 15일
56. 소화난이도등급 Ⅲ인 지하탱크저장소에 설치 하여야 하는 소화설비의 설치기준으로 옳은 것은?
① 능력단위 수치가 3 이상의 소형 수동식소화기등 1개 이상
② 능력단위 수치가 3 이상의 소형 수동식소화기등 2개 이상
③ 능력단위 수치가 2 이상의 소형 수동식소화기등 1개 이상
④ 능력단위 수치가 2 이상의 소형 수동식소화기등 2개 이상
57. 총리령으로 정하는 고급감리원 이상의 소방공사 감리원의 소방시설공사 배치 현장기준으로 옳은 것은?
① 연면적 5000m2 이상 30000m2 미만인 특정소방대상물의 공사 현장
② 연면적 30000m2 이상 200000m2 미만인 아파트의 공사 현장
③ 연면적 30000m2 이상 200000m2 미만인 특정소방대상물(아파트는 제외)의 공사 현장
④ 연면적 200000m2 이상인 특정소방대상물의 공사 현장
58. 소방시설업에 대한 행정처분 기준 중 1차 처분이 영업정지 3개월이 아닌 경우는?
① 국가, 지방자체단체 또는 공공기관이 발주하는 소방시설의 설계∙감리업자 선정에 따른 사업수행능력 평가에 관한 서류를 위조하거나 변조하는 등 거짓이나 그 밖의 부정한 방법으로 입찰에 참여한 경우
② 소방시설업의 감독을 위하여 필요한 보고나 자료제출 명령을 위반하여 보고 또는 자료 제출을 하지 아니하거나 거짓으로 보고 또는 자료제출을 한 경우
③ 정당한 사유 없이 출입∙검사업무에 따른 관계 공무원의 출입 또는 검사∙조사를 거부∙방해 또는 기피한 경우
④ 감리업자의 감리 시 소방시설공사가 설계도서에 맞지 아니하여 공사업자에게 공사의 시정 또는 보완 등의 요구를 하였으나 따르지 아니한 경우
59. 소방시설기준 적용의 특례 중 특정소방대상물의 관계인이 소방시설을 갖추어야 함에도 불구하고 관련 소방시설을 설치하지 아니할 수 있는 소방시설의 범위로 옳은 것은?(단, 화재 위험도가 낮은 특정소방대상물로서 석재, 불연성금속, 불연성 건축재료 등의 가공공장∙기계조립공장∙주물공장 도는 불연성 물품을 저장하는 창고이다.)
① 옥외소화전 및 연결살수설비
② 연결송수관설비 및 상수도소화용수설비
③ 자동화재탐지설비, 상수도소화용수설비 및 연결살수설비
④ 스프링클러설비, 상수도소화용수설비 및 연결살수설비
60. 우수품질인증을 받지 아니한 제품에 우수품질 인증 표시를 하거나 우수품질인증 표시를 위조 또는 변조하여 사용한 자에 대한 벌칙기준은?
① 100만원 이하의 벌금 ② 200만원 이하의 벌금
③ 300만원 이하의 벌금 ④ 500만원 이하의 벌금
|
4과목 : 소방기계시설의 구조 및 원리 |
61. 옥내소화전설비 수원을 산출된 유효수량 외에 유효수량의 1/3 이상을 옥상에 설치해야 하는 경우는?
① 지하층만 있는 건축물
② 건축물의 높이가 지표면으로부터 15m인 경우
③ 수원이 건축물의 최상층에 설치된 방수구보다 높은 위치에 설치된 경우
④ 주펌프와 동등 이상의 성능이 있는 별도의 펌프로서 내연기관의 기동돠 연동하여 작동되거나 비상전원을 연결하여 설치한 경우
62. 조기반응형 스프링클러헤드를 설치해야 하는 장소가 아닌 것은?
① 공동주택의 거실 ② 수련시설의 침실
③ 오피스텔의 침실 ④ 병원의 입원실
63. 특정소방대상물별 소화기구의 능력단위기준 중 다음( ) 안에 알맞은 것은? (단, 건축물의 주요구조부는 내화구조가 아니고 벽 및 반자의 실내에 면하는 부분이 불연재료∙준불연재료 또는 난연재료로 된 특정소방대상물이 아니다.)

① 30 ② 50
③ 100 ④ 200
64. 상수도소화용수설비 소화전의 설치기준 중 다음 ( ) 안에 알맞은 것은?

① ㉠ 65, ㉡ 120, ㉢ 160 ② ㉠ 75, ㉡ 100, ㉢ 140
③ ㉠ 80, ㉡ 90, ㉢ 140 ④ ㉠ 100, ㉡ 100, ㉢ 180
65. 청정소화약제소화설비의 분사헤드에 대한 설치기준 중 다음 ( ) 안에 알맞은 것은?(단, 분사헤드의 성능인증 범위 내에서 설치하는 경우는 제외한다.)

① ㉠ 0.2, ㉡ 3.7 ② ㉠ 0.8, ㉡ 1.5
③ ㉠ 1.5, ㉡ 2.0 ④ ㉠ 2.0, ㉡ 2.5
66. 완강기의 최대사용하중은 몇 N 이상의 하중이어야 하는가?
① 800 ② 1000
③ 1200 ④ 1500
67. 물분무소화설비를 설치하는 차고 또는 주차장의 배수설비 설치기준으로 틀린 것은?
① 차량이 주차하는 바닥은 배수구를 향해 1/100 이상의 기울기를 유지할 것
② 배수구에서 새어나온 기름을 모아 소화할 수 있도록 길이 40m 이하마다 집수관, 소화핏트등 기름분리장치를 설치 할 것
③ 차량이 주차하는 장소의 적당한 곳에 높이 10cm 이상의 경계턱으로 배수구를 설치할 것
④ 배수설비는 가압송수장치의 최대송수능력의 수량을 유효하게 배수살 수 있는 크기 및 기울기로 할 것
68. 스프링클러설비 배관의 설치기준으로 틀린 것은?
① 급수배관의 구경은 수리계산에 따르는 경우 가지배관의 유속은 6m/s, 그 밖의 배관의 유속은 10m/s를 초과할 수 없다.
② 연결송수관설비의 배관과 겸용할 경우의 주배관은 구경 100mm 이상, 방수구로의 연결되는 배관의 구경은 65mm 이상의 것으로 하여야 한다.
③ 수직배수배관의 구경은 50mm 이상으로 하여야 한다.
④ 가지배관에는 헤드의 설치지점 사이마다 1개 이상의 행가를 설치하되, 헤드간의 거리가 4.5m를 초과하는 경우에는 4.5m 이내마다 1개 이상 설치해야 한다.
69. 포소화설비의 자동식 기동장치로 폐쇄형 스프링클러헤드를 사용하는 경우의 설치기준 중 다음( ) 안에 알맞은 것은?

① ㉠ 60, ㉡ 10, ㉢ 7 ② ㉠ 60, ㉡ 20, ㉢ 7
③ ㉠ 79, ㉡ 10, ㉢ 5 ④ ㉠ 79, ㉡ 20, ㉢ 5
70. 할로겐화합물 소화약제 저장용기의 설치기준 중 다음 ( ) 안에 알맞은 것은?

① ㉠ 2.5, ㉡ 4.2 ② ㉠ 2.0, ㉡ 3.5
③ ㉠ 1.5, ㉡ 3.0 ④ ㉠ 1.1, ㉡ 2.5
71. 대형소화기의 정의 중 다음 ( ) 안에 알맞은 것은?

① ㉠ 20, ㉡ 10 ② ㉠ 10, ㉡ 5
③ ㉠ 5, ㉡ 10 ④ ㉠ 10, ㉡ 20
72. 연결살수설비 배관의 설치기준 중 하나의 배관에 부착하는 살수헤드의 개수가 3개 인 경우 배관의 구경은 최소 몇 mm 이상으로 설치해야 하는가?(단, 연결살수설비 전용헤드를 사용하는 경우이다.)
① 40 ② 50
③ 65 ④ 80
73. 연소방지설비 방수헤드의 설치기준 중 살수구역은 환기구 등을 기준으로 지하구의 길이방향으로 몇 m 이내마다 1개 이상 설치하여야 하는가?
① 150 ② 200
③ 350 ④ 400
74. 110kV 초과 154kV 이하의 고압전기기기와 물분무헤드 사이에 최소 이격거리는 몇 cm 인가?
① 110 ② 150
③ 180 ④ 210
75. 특정소방대상물의 용도 및 장소별로 설치해야 할 인명구조기구의 기준으로 틀린 것은?
① 지하가 중 지하상가는 인공소생기를 층마가 2개 이상 비치할 것
② 판매시설 중 대규모 점포는 공기호흡기를 층마다 2개 이상 비치할 것
③ 지하층을 포함하는 층수가 7층 이상인 관광호텔은 방열복, 공기호흡기, 인공소생기를 각 2개 이상 비치할 것
④ 물분무등소화설비 중 이산화탄소 소화설비를 설치해야 하는 특정소방대상물은 공기호흡기를 이산화탄소 소화설비가 설치된 장소의 출입구 인근에 1대 이상 비치할 것
76. 제연설비 설치장소의 제연구역 구획 기준으로 틀린 것은?
① 하나의 제연구역의 면적은 1000m2 이내로 할 것
② 하나의 제연구역은 직경 60m 원내에 들어갈 수 있을 것
③ 하나의 제연구역은 3개 이상 층에 미치지 아니하도록 할 것
④ 통로상의 제연구역은 보행중심선의 길이가 60m를 초과하지 아니할 것
77. 물분무소화설비의 설치 장소별 1m2에 대한 수원의 최소 저수량으로 옳은 것은?
① 케이블트레이: 12L/min×20분×투영된 바닥면적
② 절연유 봉입 변압기: 15L/min×20분×바닥 부분을 제외한 표면적을 합한 면적
③ 차고: 30L/min×20분×바닥면적
④ 콘베이어 벨트: 37L/min×20분×벨트부분의 바닥면적
78. 개방형스프링클러설비의 일제개방밸브가 하나의 방수구역을 담당하는 헤드의 최대 개수는?(단, 2개 이상의 방수구역으로 나눌 경우는 제외한다.)
① 60 ② 50
③ 30 ④ 25
79. 분말소화설비의 저장용기에 설치된 밸브 중 잔압 방출 시 개방∙폐쇄 상태로 옳은 것은?
① 가스도입밸브 – 폐쇄 ② 주밸브(방출밸브) - 개방
③ 배기밸브 – 폐쇄 ④ 클리닝밸브 – 개방
80. 차고∙주차장에 호스릴포소화설비 또는 포소화전설비를 설치할 수 있는 부분이 아닌 것은?
① 지상 1층으로서 방화구획 되거나 지붕이 없는 부분
② 지상에서 수동 또는 원격 조작에 따라 개방이 가능한 개구부의 유효면적의 합계가 바닥면적의 10% 이상인 부분
③ 옥외로 통하는 개구부가 상시 개방된 구조의 부분으로서 그 개방된 부분의 합계면적이 해당 차고 또는 주차장의 바닥면적의 15% 이상인 부분
④ 완전 개방된 옥상주차장 또는 고가 밑의 주차장 등으로서 주된 벽이 없고 기둥뿐이거나 주위가 위해방지용 철주 등으로 둘러싸인 부분

'기사 > 소방설비(기계)기사' 카테고리의 다른 글
| 2020 . 4회차 . 소방설비기사(기계) 필기 기출문제 (정답포함) (0) | 2020.12.05 |
|---|---|
| 2017 . 2회차 . 소방설비기사(기계) 필기 기출문제 (정답포함) (0) | 2020.11.23 |
| 2017 . 4회차 . 소방설비기사(기계) 필기 기출문제 (정답포함) (0) | 2020.11.09 |
| 2020 . 3회차 . 소방설비기사(기계) 필기 기출문제 (정답포함) (0) | 2020.09.26 |
| 2020 . 1회차 . 소방설비기사(기계) 필기 기출문제 (정답포함) (0) | 2020.07.13 |
댓글