1. 공기와 접촉되었을 때 위험도(H)가 가장 큰 것은?
① 에테르 ② 수소
③ 에틸렌 ④ 부탄
2. 연면적이 1000m2 이상인 목조건축물은 그 외벽 및 처마 밑의 연소할 우려가 있는 부분을 방화구조로 하여야 하는데 이때 연소우려가 있는 부분은? (단, 동일한 대지 안에 2동 이상의 건물이 있는 경우이며, 공원·광장·하천의 공지나 수면 또는 내화구조의 벽 기타 이와 유사한 것에 접하는 부분을 제외한다.)
① 상호의 외벽 간 중심선으로부터 1층은 3m 이내의 부분
② 상호의 외벽 간 중심선으로부터 2층은 7m 이내의 부분
③ 상호의 외벽 간 중심선으로부터 3층은 11m 이내의 부분
④ 상호의 외벽 간 중심선으로부터 4층은 13m 이내의 부분
3. 주요구조부가 내화구조로된 건축물에서 거실 각 부분으로부터 하나의 직통계단에 이르는 보행거리는 피난자의 안전상 몇 m 이하이어야 하는가?
① 50 ② 60
③ 70 ④ 80
4. 제2류 위험물에 해당하지 않는 것은?
① 유황 ② 황화린
③ 적린 ④ 황린
5. 화재에 관련된 국제적인 규정을 제정하는 단체는?
① IMO(International Matritime Organization)
② SEPE(Society of Fire Protection Engineers)
③ NFPA(Nation Fire Protection Association)
④ ISO(International Organization for Standardization) TC 92
6. 이산화탄소 소화약제의 임계온도로 옳은 것은?
① 24.4 ℃ ② 31.1 ℃
③ 56.4 ℃ ④ 78.2 ℃
7. 위험물안전관리법령상 위험물의 지정수량이 틀린 것은?
① 과산화나트륨 – 50kg
② 적린 - 100kg
③ 트리니트로톨루엔 - 200kg
④ 탄화알루미늄 – 400kg
8. 물질의 취급 또는 위험성에 대한 설명 중 틀린 것은?
① 융해열은 점화원이다.
② 질산은 물과 반응시 발열 반응하므로 주의를 해야한다.
③ 네온, 이산화탄소, 질소는 불연성 물질로 취급한다.
④ 암모니아를 충전하는 공업용 용기의 색상은 백색이다.
9. 인화점이 40℃ 이하인 위험물을 저장, 취급하는 장소에 설치하는 전기설비는 방폭구조로 설치하는데, 용기의 내부에 기체를 압입하여 압력을 유지하도록 함으로써 폭발성가스가 침입하는 것을 방지하는 구조는?
① 압력 방폭구조 ② 유입 방폭구조
③ 안전증 방폭구조 ④ 본질안전 방폭구조
10. 화재의 분류방법 중 유류화재를 나타낸 것은?
① A급 화재 ② B급 화재
③ C급 화재 ④ D급 화재
11. 마그네슘의 화재에 주수하였을 때 물과 마그네슘의 반응으로 인하여 생성되는 가스는?
① 산소 ② 수소
③ 일산화탄소 ④ 이산화탄소
12. 물의 기화열이 539.6 cal/g 인 것은 어떤 의미인가?
① 0℃의 물 1g이 얼음으로 변화하는데 539.6 cal 의 열량이 필요하다.
② 0℃의 물 1g이 물로 변화하는데 539.6 cal 의 열량이 필요하다.
③ 0℃의 물 1g이 100℃의 물로 변화하는데 539.6 cal 의 열량이 필요하다.
④ 100℃의 물 1g이 수증기로 변화하는데 539.6 cal 의 열량이 필요하다.
13. 방화구획의 설치기준 중 스프링클러 기타 이와 유사한 자동식소화설비를 설치한 10층 이하의 층은 몇 m2 이내마다 구획하여야 하는가?
① 1000 ② 1500
③ 2000 ④ 3000
14. 불활성 가스에 해당하는 것은?
① 수증기 ② 일산화탄소
③ 아르곤 ④ 아세틸렌
15. 이산화탄소의 질식 및 냉각 효과에 대한 설명 중 틀린 것은?
① 이산화탄소의 증기비중이 산소보다 크기 때문에 가연물과 산소의 접촉을 방해한다.
② 액체 이산화탄소가 기화되는 과정에서 열을 흡수한다.
③ 이산화탄소는 불연성 가스로서 가연물의 연소반응을 방해한다.
④ 이산화탄소는 산소와 반응하며 이 과정에서 발생한 연소열을 흡수하므로 냉각효과를 나타낸다.
16. 분말 소화약제 분말입도의 소화성능에 관한 설명으로 옳은 것은?
① 미세할수록 소화성능이 우수하다.
② 입도가 클수록 소화성능이 우수하다.
③ 입도와 소화성능과는 관련이 없다.
④ 입도가 너무 미세하거나 너무 커도 소화성능은 저하된다.
17. 화재하중에 대한 설명 중 틀린 것은?
① 화재하중이 크면 단위면적당의 발열량이 크다.
② 화재하중이 크다는 것은 화재구획의 공간이 넓다는 것이다.
③ 화재하중이 같더라도 물질의 상태에 따라 가혹도는 달라진다.
④ 화재하중은 화재구획실내의 가연물 총량을 목재 중량당비로 환산하여 면적으로 나눈 수치이다.
18. 분말 소화약제 중 A급, B급, C급 화재에 모두 사용할 수 있는 것은?
① Na2CO3
② NH4H2PO4
③ KHCO3
④ NaHCO3
19. 증기비중의 정의로 옳은 것은? (단, 분자, 분모의 단위는 모두 g/mol 이다.)
① 분자량 / 22.4 ② 분자량 / 29
③ 분자량 / 44.8 ④ 분자량 / 100
20. 탄화칼슘의 화재 시 물을 주수하였을 때 발생하는 가스로 옳은 것은?
① C2H2 Ā ② H2
③ O2 Ā ④ C2H6
21. 다음 중 열역학 제1법칙에 관한 설명으로 옳은 것은?
① 열은 그 자신만으로 저온에서 고온으로 이동할 수 없다.
② 일은 열로 변환시킬 수 있고 열은 일로 변환시킬 수 있다.
③ 사이클 과정에서 열이 모두 일로 변화할 수 없다.
④ 열평형 상태에 있는 물체의 온도는 같다.
22. 안지름 25mm, 길이 10m의 수평 파이프를 통해 비중 0.8, 점성계수는 5×10-3kg/m·s 인 기름을 유량 0.2×10-3 m3/s 로 수송하고자 할 때, 필요한 펌프의 최소 동력은 약 몇 W 인가?
① 0.21 ② 0.58
③ 0.77 ④ 0.81
23. 수은의 비중이 13.6 일 때 수은의 비체적은 몇 m3/kg 인가?
① 1/13.6
② 1/13.6 x 10-3
③ 13.6
④ 13.6 × 10-3
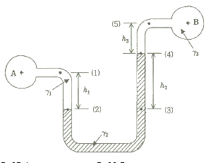
24. 그림과 같은 U자관 차압 액주계에서 A와 B에 있는 유체는 물이고 그 중간에 유체는 수은(비중 13.6)이다. 또한, 그림에서 h1=20cm, h2=30cm, h3=15cm 일 때 A의 압력(PA)와 B의 압력(PB)의 차이(PA - PB)는 약 몇 kPa 인가?

① 35.4 ② 39.5
③ 44.7 ④ 49.8
25. 평균유속 2m/s 로 50L/s 유량의 물을 흐르게 하는데 필요한 관의 안지름은 약 몇 mm 인가?
① 158 ② 168
③ 178 ④ 188
26. 30℃에서 부피가 10L인 이상기체를 일정한 압력으로 0℃로 냉각시키면 부피는 약 몇 L로 변하는가?
① 3 ② 9
③ 12 ④ 18
27. 이상적인 카르노사이클의 과정인 단열압축과 등온압축의 엔트로피 변화에 관한 설명으로 옳은 것은?
① 등온압축의 경우 엔트로피 변화는 없고, 단열압축의 경우 엔트로피 변화는 감소한다.
② 등온압축의 경우 엔트로피 변화는 없고, 단열압축의 경우 엔트로피 변화는 증가한다.
③ 단열압축의 경우 엔트로피 변화는 없고, 등온압축의 경우 엔트로피 변화는 감소한다.
④ 단열압축의 경우 엔트로피 변화는 없고, 등온압축의 경우 엔트로피 변화는 증가한다.
28. 그림에서 물 탱크차가 받는 추력은 약 몇 N 인가? (단, 노즐의 단면적은 0.03m2 이며, 탱크 내의 계기압력은 40 kPa 이다. 또한 노즐에서 마찰 손실은 무시한다.)

① 812 ② 1489
③ 2709 ④ 5343
29. 비중이 0.877인 기름이 단면적이 변하는 원관을 흐르고 있으며 체적유량은 0.146 m3/s 이다. A점에서는 안지름이 150mm, 압력이 91 kPa 이고, B점에서는 안지름이 450mm, 압력이 60.3 kPa 이다. 또한 B점은 A점보다 3.66m 높은 곳에 위치한다. 기름이 A점에서 B점까지 흐르는 동안의 손실수두는 약 몇 m 인가? (단, 물의 비중량은 9810 N/m3 이다.)
① 3.3 ② 7.2
③ 10.7 ④ 14.1
30. 그림과 같이 피스톤의 지름이 각각 25cm와 5cm이다. 작은 피스톤을 화살표 방향으로 20cm 만큼 움직일 경우 큰 피스톤이 움직이는 거리는 약 몇 mm 인가? (단, 누설은 없고, 비압축성이라고 가정한다.)

① 2 ② 4
③ 8 ④ 10
31. 스프링클러 헤드의 방수압이 4배가 되면 방수량은 몇 배가 되는가?
① √2배 ② 2배
③ 4배 ④ 8배
32. 다음 중 표준대기압인 1기압에 가장 가까운 것은?
① 860 mmHg ② 10.33 mAq
③ 101.325 bar ④ 1.0332 kgf/m2
33. 안지름 10cm의 관로에서 마찰 손실 수두가 속도 수두와 같다면 그 관로의 길이는 약 몇 m 인가? (단, 관마찰계수는 0.03 이다.)
① 1.58 ② 2.54
③ 3.33 ④ 4.52
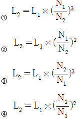
34. 원심식 송풍기에서 회전수를 변화시킬 때 동력변화를 구하는 식으로 옳은 것은? (단, 변화 전후의 회전수는 각각 N1, N2, 동력은 L1, L2 이다.)

35. 그림과 같은 1/4원형의 수문(水門) AB가 받는 수평성분 힘(FH)과 수직성분 힘(FV)은 각각 약 몇 kN 인가? (단, 수문의 반지름은 2m 이고, 폭은 3m 이다.)

① FH = 24.4, FV = 46.2
② FH = 24.4, FV = 92.4
③ FH = 58.8, FV = 46.2
④ FH = 58.8, FV = 92.4
36. 펌프 중심으로부터 2m 아래에 있는 물을 펌프 중심으로부터 15m 위에 있는 송출수면으로 양수하려 한다. 관로의 전 손실수두가 6m 이고, 송출수량이 1m3/min 라면 필요한 펌프의 동력은 약 몇 W 인가?
① 2777 ② 3103
③ 3430 ④ 3757
37. 일반적인 배관 시스템에서 발생되는 손실을 주손실과 부차적 손실로 구분할 때 다음 중 주손실에 속하는 것은?
① 직관에서 발생하는 마찰 손실
② 파이프 입구와 출구에서의 손실
③ 단면의 확대 및 축소에 의한 손실
④ 배관부품(엘보, 리턴밴드, 티, 리듀서, 유니언, 밸브 등)에서 발생하는 손실
38. 온도차이 20℃, 열전도율 5W/(m·K), 두께 20cm 인 벽을 통한 열유속(heat flux)과 온도차이 40℃, 열전도율 10W/(m·K), 두께 t인 같은 면적을 가진 벽을 통한 열유속이 같다면 두께 t는 약 몇 cm 인가?
① 10 ② 20
③ 40 ④ 80
39. 낙구식 점도계는 어떤 법칙을 이론적 근거로 하는가?
① Stokes의 법칙
② 열역학 제1법칙
③ Hagen-Poiseuille의 법칙
④ Boyle의 법칙
40. 지면으로부터 4m의 높이에 설치된 수평관 내로 물이 4m/s로 흐르고 있다. 물의 압력이 78.4 kPa인 관 내의 한 점에서 전수두는 지면을 기준으로 약 몇 m 인가?
① 4.76 ② 6.24
③ 8.82 ④ 12.81
41. 소방기본법령상 소방본부장 또는 소방서장은 소방상 필요한 훈련 및 교육을 실시하고자 하는 때에는 화재경계지구 안의 관계인에게 훈련 또는 교육 며칠 전까지 그 사실을 통보하여야 하는가?
① 5 ② 7
③ 10 ④ 14
42. 특정소방대상물의 관계인이 소방안전관리자를 해임한 경우 재선임 신고를 해야 하는 기준은? (단, 해임한 날부터를 기준일로 한다.)(문제 오류로 실제 시험에서는 모두 정답처리 되었습니다. 여기서는 1번을 누르면 정답 처리 됩니다.)
① 10일 이내 ② 20일 이내
③ 30일 이내 ④ 40일 이내
43. 소방용수시설 중 소화전과 급수탑의 설치기준으로 틀린 것은?
① 급수탑 급수배관의 구경은 100mm 이상으로 할 것
② 소화전은 상수도와 연결하여 지하식 또는 지상식의 구조로 할 것
③ 소방용호스와 연결하는 소화전의 연결금속구의 구경은 65mm로 할 것
④ 급수탑의 개폐밸브는 지상에서 1.5m 이상 1.8m 이하의 위치에 설치할 것
44. 경유의 저장량이 2000리터, 중유의 저장량이 4000리터, 등유의 저장량이 2000리터인 저장소에 있어서 지정수량의 배수는?
① 동일 ② 6배
③ 3배 ④ 2배
45. 소방기본법상 명령권자가 소방본부장, 소방서장 또는 소방대장에게 있는 사항은?
① 소방 활동을 할 때에 긴급한 경우에는 이웃한 소방본부장 또는 소방서장에게 소방업무의 응원을 요청할 수 있다.
② 화재, 재난·재해, 그 밖의 위급한 상황이 발생한 현장에서 소방활동을 위하여 필요할 때에는 그 관할구역에 사는 사람 또는 그 현장에 있는 사람으로 하여금 사람을 구출하는 일 또는 불을 끄거나 불이 번지지 아니하도록 하는 일을 하게 할 수 있다.
③ 수사기관이 방화 또는 실화의 혐의가 있어서 이미 피의자를 체포하였거나 증거물을 압수하였을 때에 화재조사를 위하여 필요한 경우에는 수사에 지장을 주지 아니하는 범위에서 그 피의자 또는 압수된 증거물에 대한 조사를 할 수 있다.
④ 화재, 재난·재해, 그밖의 위급한 상황이 발생하였을 때에는 소방대를 현장에 신속하게 출동시켜 화재진압과 인명구조·구급 등 소방에 필요한 활동을 하게 하여야 한다.
46. 화재가 발생하는 경우 인명 또는 재산의 피해가 클 것으로 예상되는 때 소방대상물의 개수·이전·제거, 사용금지 등의 필요한 조치를 명할 수 있는 자는?
① 시·도지사
② 의용소방대장
③ 기초자치단체장
④ 소방본부장 또는 소방서장
47. 소방기본법상 보일러, 난로, 건조설비, 가스·전기시설, 그 밖에 화재 발생 우려가 있는 설비 또는 기구 등의 위치·구조 및 관리와 화재 예방을 위하여 불을 사용할 때 지켜야 하는 사항은 무엇으로 정하는가?
① 총리령 ② 대통령령
③ 시·도 조례 ④ 행정안전부령
48. 아파트로 층수가 20층인 특정소방대상물에서 스프링클러 설비를 하여야 하는 층수는? (단, 아파트는 신축을 실시하는 경우이다.)
① 전층 ② 15층 이상
③ 11층 이상 ④ 6층 이상
49. 소방기본법령상 소방본부 종합상황실 실장이 소방청의 종합상황실에 서면·모사전송 또는 컴퓨터통신 등으로 보고하여야 하는 화재의 기준에 해당하지 않는 것은?
① 항구에 매어둔 총 톤수가 1000톤 이상인 선박에서 발생한 화재
② 연면적 15000m2 이상인 공장 또는 화재경계지구에서 발생한 화재
③ 지정수량의 1000배 이상의 위험물의 제조소·저장소·취급소에서 발생한 화재
④ 층수가 5층 이상이거나 병상이 30개 이상인 종합병원·정신병원·한방병원·요양소에서 발생한 화재
50. 화재예방, 소방시설 설치·유지 및 안전관리에 관한 법상 소방시설 등에 대한 자체점검을 하지 아니하거나 관리업자 등으로 하여금 정기적으로 점검하게 하지 아니한 자에 대한 벌칙 기준으로 옳은 것은?
① 1년 이하의 징역 또는 1000만원 이하의 벌금
② 3년 이하의 징역 또는 1500만원 이하의 벌금
③ 3년 이하의 징역 또는 3000만원 이하의 벌금
④ 6개월 이하의 징역 또는 1000만원 이하의 벌금
51. 소방기본법령상 특수가연물의 저장 및 취급기준 중 석탄·목탄류를 발전용으로 저장하는 경우 쌓는 부분의 바닥면적은 몇 m2 이하인가? (단, 살수설비를 설치하거나, 방사능력 범위에 해당 특수가연물이 포함되도록 대형수동식소화기를 설치하는 경우이다.)(문제 오류로 실제 시험에서는 모두 정답처리 되었습니다. 여기서는 1번을 누르면 정답 처리 됩니다.)
① 200 ② 250
③ 300 ④ 350
52. 제3류 위험물 중 금수성 물품에 적응성이 있는 소화약제는?
① 물 ② 강화액
③ 팽창질석 ④ 인산염류분말
53. 화재예방, 소방시설 설치·유지 및 안전관리에 관한 법령상 소방특별조사위원회의 위원에 해당하지 아니하는 사람은?
① 소방기술사
② 소방시설관리사
③ 소방 관련 분야의 석사학위 이상을 취득한 사람
④ 소방 관련 법인 또는 단체에서 소방 관련 업무에 3년 이상 종사한 사람
54. 소방특별조사 결과에 따른 조치명령으로 손실을 입어 손실을 보상하는 경우 그 손실을 입은 자는 누구와 손실보상을 협의하여야 하는가?
① 소방서장 ② 시·도지사
③ 소방본부장 ④ 행정안전부장관
55. 위험물운송자 자격을 취득하지 아니한 자가 위험물 이동탱크저장소 운전 시의 벌칙으로 옳은 것은?
① 100만원 이하의 벌금 ② 300만원 이하의 벌금
③ 500만원 이하의 벌금 ④ 1000만원 이하의 벌금
56. 1급 소방안전관리대상물이 아닌 것은?
① 15층인 특정소방대상물(아파트는 제외)
② 가연성가스를 2000톤 저장·취급하는 시설
③ 21층인 아파트로서 300세대인 것
④ 연면적 20000m2 인 문화집회 및 운동시설
57. 문화재보호법의 규정에 의한 유형문화재와 지정문화재에 있어서는 제조소 등과의 수평거리를 몇 m 이상 유지하여야 하는가?
① 20 ② 30
③ 50 ④ 70
58. 다음 중 중급기술자의 학력·경력자에 대한 기준으로 옳은 것은? (단, “학력·경력자”란 고등학교·대학 또는 이와 같은 수준 이상의 교육기관의 소방 관련학과의 정해진 교육과정을 이수하고 졸업하거나 그 밖의 관계법령에 따라 국내 또는 외국에서 이와 같은 수준 이상의 학력이 있다고 인정되는 사람을 말한다.)
① 고등학교를 졸업 후 10년 이상 소방 관련 업무를 수행한 자
② 학사학위를 취득한 후 6년 이상 소방 관련 업무를 수행한 자
③ 석사학위를 취득한 후 2년 이상 소방 관련 업무를 수행한 자
④ 박사학위를 취득한 후 1년 이상 소방 관련 업무를 수행한 자
59. 소방시설공사업법령상 상주 공사감리 대상 기준 중 다음 ㉠, ㉡, ㉢에 알맞은 것은?

① ㉠ 10000, ㉡ 11, ㉢ 600
② ㉠ 10000, ㉡ 16, ㉢ 500
③ ㉠ 30000, ㉡ 11, ㉢ 600
④ ㉠ 30000, ㉡ 16, ㉢ 500
60. 화재예방, 소방시설 설치·유지 및 안전관리에 관한 법상 소방안전관리대상물의 소방안전관리자 업무가 아닌 것은?(문제 오류로 실제 시험에서는 모두 정답처리 되었습니다. 여기서는 1번을 누르면 정답 처리 됩니다.)
① 소방훈련 및 교육
② 피난시설, 방화구획 및 방화시설의 유지·관리
③ 자위소방대 및 초기대응체계의 구성·운영·교육
④ 피난계획에 관한 사항과 대통령령으로 정하는 사항이 포함된 소방계획서의 작성 및 시행
61. 대형 이산화탄소 소화기의 소화약제 충전량은 얼마인가?
① 20 kg 이상 ② 30 kg 이상
③ 50 kg 이상 ④ 70 kg 이상
62. 개방형스프링클러설비에서 하나의 방수구역을 담당하는 헤드의 개수는 몇 개 이하로 해야 하는가? (단, 방수구역은 나누어져 있지 않고 하나의 구역으로 되어 있다.)
① 50 ② 40
③ 30 ④ 20
63. 분말소화설비의 가압용 가스용기에 대한 설명으로 틀린 것은?
① 가압용가스 용기를 3병 이상 설치한 경우에는 2개 이상의 용기에 전자개방밸브를 부착할 것
② 가압용가스 용기에는 2.5 MPa 이하의 압력에서 조정이 가능한 압력조정기를 설치할 것
③ 가압용가스에 질소가스를 사용하는 것의 질소가스는 소화약제 1kg 마다 20 L(35℃에서 1기압의 압력상태로 환산한 것) 이상으로 할 것
④ 축압용가스에 질소가스를 사용하는 것의 질소가스는 소화약제 1kg 마다 10 L(35℃에서 1기압의 압력상태로 환산한 것) 이상으로 할 것
64. 소화용수 설비의 소화수조가 옥상 또는 옥탑의 부분에 설치된 경우 지상에 설치된 채수구에서의 압력은 얼마 이상이어야 하는가?
① 0.15 MPa ② 0.20 MPa
③ 0.25 MPa ④ 0.35 MPa
65. 스프링클러소화설비의 배관 내 압력이 얼마 이상일 때 압력배관용 탄소강관을 사용해야 하는가?
① 0.1 MPa ② 0.5 MPa
③ 0.8 MPa ④ 1.2 MPa
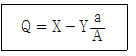
66. 할론소화설비에서 국소방출방식의 경우 할론소화약제의 양을 산출하는 식은 다음과 같다. 여기서 A는 무엇을 의미하는가? (단, 가연물이 비산할 우려가 있는 경우로 가정한다.)

① 방호공간의 벽면적의 합계
② 창문이나 문의 틈새면적의 합계
③ 개구부 면적의 합계
④ 방호대상물 주위에 설치된 벽의 면적의 합계
67. 이산화탄소 소화약제의 저장용기 설치기준 중 옳은 것은?
① 저장용기의 충전비는 고압식은 1.9 이상 2.3 이하, 저압식은 1.5 이상 1.9 이하로 할 것
② 저압식 저장용기에는 액면계 및 압력계와 2.1 MPa 이상 1.7 MPa 이하의 압력에서 작동하는 압력경보장치를 설치할 것
③ 저장용기는 고압식은 25 MPa 이상, 저압식은 3.5 MPa 이상의 내압시헙압력에 합격한 것으로 할 것
④ 저압식 저장용기에는 내압시험압력의 1.8배의 압력에서 작동하는 안전밸브와 내압시험압력의 0.8배부터 내압시험압력까지의 범위에서 작동하는 봉판을 설치할 것
68. 포헤드를 정방형으로 설치 시 헤드와 벽과의 최대 이격거리는 약 몇 m 인가?
① 1.48 ② 1.62
③ 1.76 ④ 1.91
69. 소화용수설비와 관련하여 다음 설명 중 괄호 안에 들어갈 항목으로 옳게 짝지어진 것은?

① ⓐ : 150, ⓑ 75 ② ⓐ : 150, ⓑ 100
③ ⓐ : 180, ⓑ 75 ④ ⓐ : 180, ⓑ 100
70. 연소방지설비의 수평주행배관의 설치 기준에 대한 설명 중 괄호 안의 항목이 옳게 짝지어진 것은?

① ⓐ 80, ⓑ 1/1000 ② ⓐ 100, ⓑ 1/1000
③ ⓐ 80, ⓑ 2/1000 ④ ⓐ 100, ⓑ 2/1000
71. 예상제연구역 바닥면적 400m2 미만 거실의 공기유입구와 배출구간의 직선거리 기준으로 옳은 것은? (단, 제연경계에 의한 구획을 제외한다.)
① 2m 이상 확보되어야 한다.
② 3m 이상 확보되어야 한다.
③ 5m 이상 확보되어야 한다.
④ 10m 이상 확보되어야 한다.
72. 다음 중 스프링클러설비와 비교하여 물분무 소화설비의 장점으로 옳지 않은 것은?
① 소량의 물을 사용함으로써 물의 사용량 및 방사량을 줄일 수 있다.
② 운동에너지가 크므로 파괴주수 효과가 크다.
③ 전기 절연성이 높아서 고압통전기기의 화재에도 안전하게 사용할 수 있다.
④ 물의 방수과정에서 화재열에 따른 부피증가량이 커서 질식효과를 높일 수 있다.
73. 일정 이상의 층수를 가진 오프스텔에서는 모든 층에 주거용 주방자동소화장치를 설치해야 하는데, 몇 층 이상인 경우 이러한 조치를 취해야 하는가?
① 15층 이상 ② 20층 이상
③ 25층 이상 ④ 30층 이상
74. 수직강하식 구조대가 구조적으로 갖추어야 할 조건으로 옳지 않은 것은? (단, 건물내부의 별실에 설치하는 경우는 제외한다.)
① 구조대의 포지는 외부포지와 내부포지로 구성한다.
② 포지는 사용 시 충격을 흡수하도록 수직방향으로 현저하게 늘어나야 한다.
③ 구조대는 연속하여 강하할 수 있는 구조이어야 한다.
④ 입구틀 및 취부틀의 입구는 지름 50cm 이상의 구체가 통과할 수 있어야 한다.
75. 주차장에 분말소화약제 120kg을 저장하려고 한다. 이때 필요한 저장용기의 최소 내용적(L)은?
① 96 ② 120
③ 150 ④ 180
76. 다음 중 노유자 시설의 4층 이상 10층 이하에서 적응성이 있는 피난기구가 아닌 것은?
① 피난교 ② 다수인피난장비
③ 승강식피난기 ④ 미끄럼대
77. 물분소화설비를 설치하는 차고의 배수설비 설치기준 중 틀린 것은?
① 차량이 주차하는 장소의 적당한 곳에 높이 10cm 이상의 경계턱으로 배수구를 설치할 것
② 길이 40m 이하마다 집수관, 소화핏트 등 기름분리장치를 설치할 것
③ 차량이 주차하는 바닥은 배수구를 향하여 100분의 1 이상의 기울기를 유지할 것
④ 배수설비는 가압송수장치의 최대 송수능력의 수량을 유효하게 배수할 수 있는 크기 및 기울기로 할 것
78. 층수가 10층인 일반창고에 습식 폐쇄형 스프링클러헤드가 설치되어 있다면 이 설비에 필요한 수원의 양은 얼마 이상이어야 하는가? (단, 이 창고는 특수가연물을 저장·취급하지 않는 일반물픔을 적용하고, 헤드가 가장 많이 설치된 층은 8층으로서 40개가 설치되어 있다.)
① 16m3 Ā ② 32m3
③ 48m3 Ā ④ 64m3
79. 포소화설비에서 펌프의 토출관에 압입기를 설치하여 포 소화약제 압입용 펌프로 포소화약제를 압입시켜 혼합하는 방식은?
① 라인 프로포셔너방식
② 펌프 프로포셔너방식
③ 프레져 프로포셔너방식
④ 프레져사이드 프로포셔너방식
80. 다음 중 옥내소와전의 배관 등에 대한 설치방법으로 옳지 않은 것은?
① 펌프의 토출 측 주배관의 구경은 평균 유속을 5m/s 가 되도록 설치하였다.
② 배관 내 사용압력이 1.1 MPa 인 곳에 배관용탄소강관을 사용하였다.
③ 옥내소화전 송수구를 단구형으로 설치하였다.
④ 송수구로부터 주배관에 이르는 연결배관에는 개폐밸브를 설치하지 않았다.

문제가 이해되지 않거나 더많은 기출문제를 보고싶으면 책을 구매하시는게 더 좋습니다(추천 필기책)
파트너스 활동을 통해 일정액의 수수료를 제공받을 수 있음
'기사 > 소방설비(기계)기사' 카테고리의 다른 글
| 2018 . 1회차 . 소방설비기사(기계) 필기 기출문제 (정답포함) (0) | 2020.06.13 |
|---|---|
| 2018 . 2회차 . 소방설비기사(기계) 필기 기출문제 (정답포함) (0) | 2020.06.12 |
| 2018 . 4회차 . 소방설비기사(기계) 필기 기출문제 (정답포함) (0) | 2020.06.12 |
| 2019 . 2회차 . 소방설비기사(기계) 필기 기출문제 (정답포함) (0) | 2020.05.17 |
| 2019 . 3회차 . 소방설비기사(기계) 필기 기출문제 (정답포함) (0) | 2020.05.02 |

![[성안당]소방설비기사 필기 기계1 12 세트 (초스피드 기억법+본문 및 과년도+요점노트2020), 성안당](https://static.coupangcdn.com/image/affiliate/banner/5839db2fcdb9b44123331dd66724b59a@2x.jpg)

댓글